How Can We Help?
Search for answers or browse our help center.
-
General Questions
- 220V Input 110V Output Toroidal Transformer
- Add a Crescent Head
- Add a Stop to a Mechlok
- Add a Threaded Insert in a Cushion
- Add Arm Board
- Add Brace for Lumbar Cushion
- Add Chin Strap to Cervical Device
- Add Double Touch Function to a Table with a Board
- Add Foot Cushion
- Add or Replace a Corded Pedal
- Add Stirrup to Cushion with a Flat Bottom
- Add Stirrups to Counterstrain Table
- Add Tape Switches to 115V
- Adding a Crescent Head Cushion
- Adding a Mechlok Release to a Cushion
- Adding a Raised Head Option
- Adding Pelvic Drop (Bolt-on)
- Adjustable Arm Rest, Low Profile
- Align Rocker Foot Pedal
- Can I add a drop to my chiropractic table?
- Check Connections
- Connecting New 4-Pedal Assembly to 4- Motor Table (Before 2008)
- Convert Drop Foot to Adjustable Foot
- Convert to Adjustable Armrest
- Curtain Bracket
- Curve Restorer
- Distraction - Flow Control Valve
- Find a product manual
- Flame retardant documentation
- Flow Control Valve
- Fold-down Arm Rests
- Help! My table is broken, how do I know what part I need to fix it?
- How do I find my serial number?
- How do I get pricing or place an order for parts?
- How to Add Double Touch Function to a Table with a Board
- How to Convert Drop Foot to PT Foot
- How to Mount the Outside Skirt
- How to Replace the Linear Bearing for the Drop
- Is there a preventative maintenance schedule for my table or chair?
- Kit Prep - Tape Switches to 115V
- Marsh Bello Fram Regulator
- Mechlok and/or Cable
- Mechlok and/or Cable Remove or Release
- Motor Terminal Block
- Mount Side Rails
- Mounting
- One-Piece Cushion Assembly
- Paper Cutter
- Pelvic Crossbar - Maintain Tension
- Plug In Side Supports
- Plug-in Side Supports
- Prep for KIT11-063
- Reed Switch Mounting
- Reinforce Motor Mount - Trendelenburg Table
- Reinforce the Cushion
- Remove Covers and Lower Outer Skirt - Trendelenberg Tables
- Repair Cervical Mechlok Mount
- Repair Main Release Mechlok Mount
- Repair Skirt Mount Angle
- Replace a Micro Switch
- Replace a T-Nut
- Replace a Taper Pin in a Lifter Handle
- Replace Bushings
- Replace Fold Down Arm Rest
- Replace Gash Shock
- Replace Kelly brand Air Regulator
- Replace Neck Pad Encasement on Cervical Device
- Replace Oilite Bushing
- Replace Pelvic Cushion
- Replace Pelvic Pancake Cylinder
- Replace Tension Handles
- Replace the Dog Pawl Spring
- Replace Upper Frame and Cushion
- Replacing a Push Button Switch
- Replacing the Load Cell
- Restraint Belt
- Rocker Pedal - Add to, or Replace a Corded Pedal
- Side Rails, Mounting
- Standard MD with Stirrups Add Stops
- Stool Base - Wheels
- Stool Base Wheels
- Temporary By Pass of Air Regulator
- Temporary By-pass of Air Regulator (Tables thru 2011)
- Trendelburg with Stirrups Add Stops
- Trendelen Tables - How to Access the Enclosure
- What are the dimensions of my table or chair?
- What is the weight capacity of my table or chair?
- What model do I have?
- Show all articles (73) Collapse Articles
Print
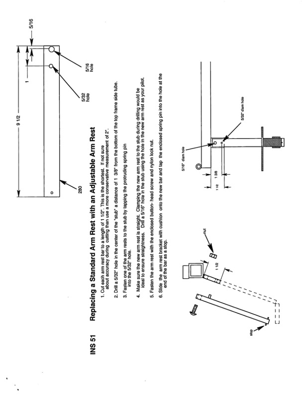
Convert to Adjustable Armrest
